Package Include
Doosan DX190W Wheel Excavator Workshop Repair Manual
Language
English
Format
PDF
Total Number of pages
1176
Publication Number
K1024513AE (2007)
Compatible
All windows and mac systems
Additional Requirement
User needs to Install PDF Reader Software
Shipping Policy
Download link by high speed web server Total Download size 57 mb
Overview
With This Original Factory Workshop Repair Manual The Technician can Find and Solve any problems encountered in the operation of your Doosan Excavator Models of :
Doosan SX190W Wheel Excavator [S.N 5001 and Up]
The Factory was highly recommended use this manual for Technicians before you touch your Doosan Machines
This is Original factory pdf manual and This pdf Workshop Manual very clear and it is 100% printable version, contains with high quality images and circuit diagrams
Table of Contents of Workshop Manual
Wheel Excavator Safety
Specification for DX190W
General Maintenance
General Maintenance Procedures
Standard Torques
pper Structure
Cabin
Counterweight
Fuel Tank
Fuel Transfer Pump
Swing Bearing
Swing Reduction Gear
Lower Structure and Chassis
Ram Lock Valve
Selector Valve
Double Pilot Check Valve
Solenoid Valve
Front Axle
Rear Axle
Engine and Drive Train
Transmission
Drive Coupling (Main Pump
Hydraulics
Hydraulic System Troubleshooting, Testing and Adjustment
Accumulator
Center Joint (Swivel)
Cylinders
Main Control Valve
Swing Motor
Travel Motor
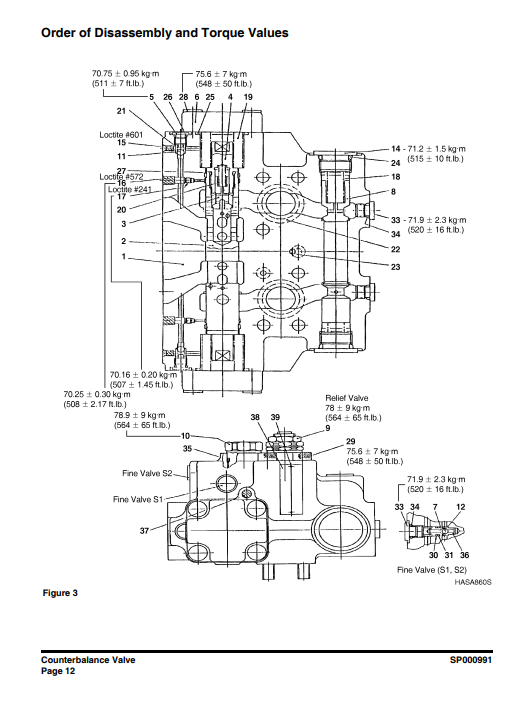
Counterbalance Valve
Main Pump & PTO
Gear Pump
Service Brake Supply Valve
Dozer Control Valve
Steering Valve
Accelerator Pedal Valve (Hydraulic)
One Spool Valve
Remote Control Valve (Work Lever / Joystick)
Breaker EPPR Valve (Opt)
Service Brake Pedal Valve
Solenoid Valve Assembly
Hydraulic Schematic
Electrical System
Electrical System
Electrical Schematic
Attachments
Boom and Arm
Bucket






