Product Code JD 0086 After payment, this Code Helps to receive correct download password to your Account Dashboard ]
Package Include
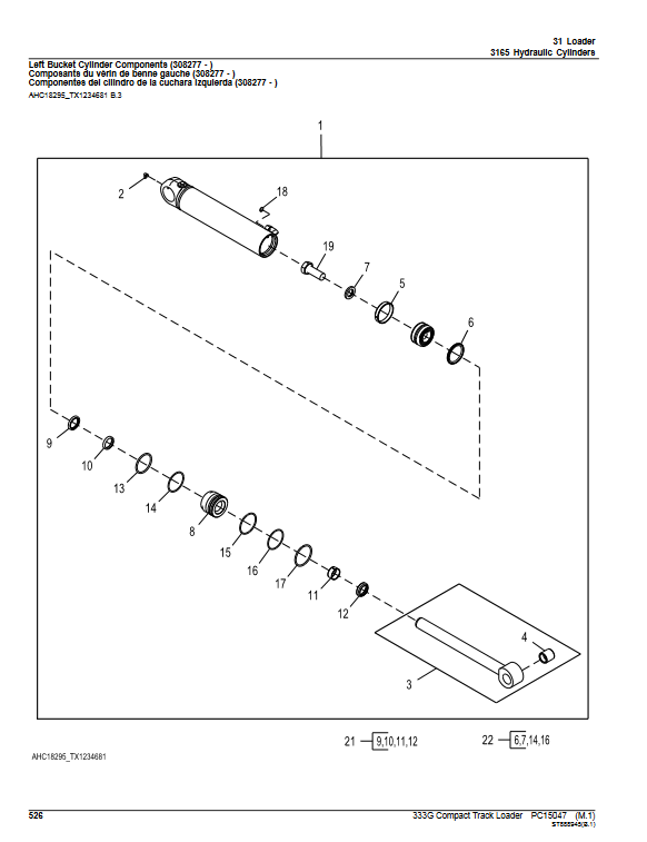
John Deere 333G Compact Track Loader Parts Manual
Language
English
Format
PDF
Total Number of pages
1-548
Publication Number
PC15047 (Aug-19)
Compatible
All windows and mac systems
Additional Requirement
User needs to Install PDF Reader Software
Shipping Policy
Download link by high speed web server Total Download size 160 mb
Overview
With This Original Factory Parts Manuals The Technician can easily find any Part Number and Correct Part encountered in the operation of your John Deere Truck Loader Models of :
John Deere 333G Compact Track Loader – PIN:1T0333G_ _ _F300253
This Parts Manual very clear and it is 100% printable version , True Electronic pdf copy, not scanned version










gsmfdo@gmail.com
Thanks for good price
Very good A Service , fast search results